ANSI Class 52-3 Pin Type Porcelain Insulator for Distribution Poles, 15kV-36kV
Pin-type porcelain insulators are high and low voltage insulators used in 11kV to 36kV transmission and distribution lines.
Pin-type porcelain insulators are supported by a pin at the top of the pole and clamped onto the pin, hence they are also known as pin-type porcelain insulators.
Pin-type porcelain insulators can be made from a single piece of ceramic or two ceramic components permanently bonded together with adhesive, in compliance with ANSI and IEC international standards. Pin-type porcelain insulators are typically installed on wooden poles, concrete poles, or towers, with cables and wires secured to their tops. To protect internal components from rain and maintain insulation, the shape of pin-type porcelain insulators is designed to resemble an umbrella or an inverted bowl.
The pole-top pins are typically made of hot-dip galvanized steel to keep the pin-type insulators in a vertical or horizontal position. It should be sufficiently long to withstand the high voltage and significant tensile force on the conductors.
Pin-type porcelain insulators are relatively inexpensive among all electrical insulators, especially compared to conventional porcelain insulators. Weichite Power Technology Co., Ltd. is a manufacturer of high-voltage insulator materials, offering a variety of designs, materials, and standard specifications for high and low-voltage insulators. If you have product requirements, please refer to the following data sheet or contact Weichite Power Technology for a direct quote.


The following pin insulators comply with ANSI&IEC Standard.
The glaze colors of the insulators are brown or light gray.
ANSI Class(Radio Free) | 56-1 | 56-2 | 56-3 | |
Recommend Pin Length,mm | 152 | 178 | 203 | |
Creepage Distance,mm | 330 | 432 | 533 | |
Dry Arcing Distance,mm | 178 | 210 | 241 | |
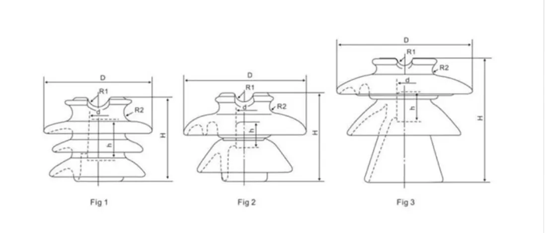
Dimensions,mm | H | 146 | 165 | 191 |
h | 51 | 51 | 51 | |
D | 191 | 229 | 267 | |
d | 35 | 35 | 35 | |
R1 | 19 | 19 | 19 | |
R2 | 14 | 14 | 14 | |
Cantilever Strength,kN | 11 | 13 | 13 | |
Power Frequency Flashover Voltage | Dry,kV | 95 | 110 | 125 |
Wet,kV | 60 | 70 | 80 | |
Critical lmpulse Flashover Voltage | Pos.,kV | 150 | 175 | 200 |
Neg.,kV | 190 | 225 | 265 | |
Power Frequency Puncture Voltage,kV | 130 | 145 | 165 | |
Radio Influence Voltage Data | Test Voltage to Ground,kV | 15 | 22 | 30 |
Max.RIV at 1000kHz,uV | 100 | 100 | 200 | |
Net Weight,Approx.,kg | 3.7 | 5.3 | 7 | |


